ESB文档库 ESB文档库
00 概述
01 产品安装指南
02 快速入门指南
03 ESB Studio使用指南
04 企业服务总线使用指南
05 高级配置指南
06 接口服务说明
07 升级&数据迁移指南
08 FAQ
  • API发布

# API发布

  1. 使用manager账号(默认密码:000000)登录系统,点击开发门户,进入“工作台”页面。

  2. “工作台”页面,在“我的系统”页签中,选择系统点击“API快速发布”,在“API快速发布“弹窗,选择”SAP“页签。

  3. 点击”SAP转HTTP“按钮,进入”SAP发布“页面。

  4. ”SAP发布“页面,参考字段说明表格,填写“业务信息配置”页签中内容(此场景中”导入方式“选择”手动录入“, 如没有所需的服务与SAP源,在此页面可快速新增服务,SAP源等信息)

    注意:SAP源连接需要在安装部署过程中已经放置sapjco相关驱动!

    输入函数名称,可点击函数校验,验证函数是否存在。

    参数 说明
    所属系统 API所属系统
    所属服务 API所属服务,若没有对应服务,新增服务
    导入方式 业务信息导入方式,可选:手动录入、SAP导入
    此场景选择:手动填写
    接口名称 业务接口名称
    接口编码 业务接口编码
    SAP源 SAP系统连接配置
    函数名称 需要发布的RFC函数名称
    接口描述 业务接口描述
  5. “业务信息配置”信息填写完成后,点击“下一步”按钮,进入“接口发布”页面,参考字段说明表格填写发布信息,点击“发布”按钮。

    参数 说明
    代理端口 ESB代理API的端口
    代理URI ESB代理API的URL,比如:/sap2http
    发布说明 该接口发布说明
    发布至网关服务器 是否将该接口发布至网关服务器,默认不勾选
    ESB服务器 选择ESB服务器组,发布接口
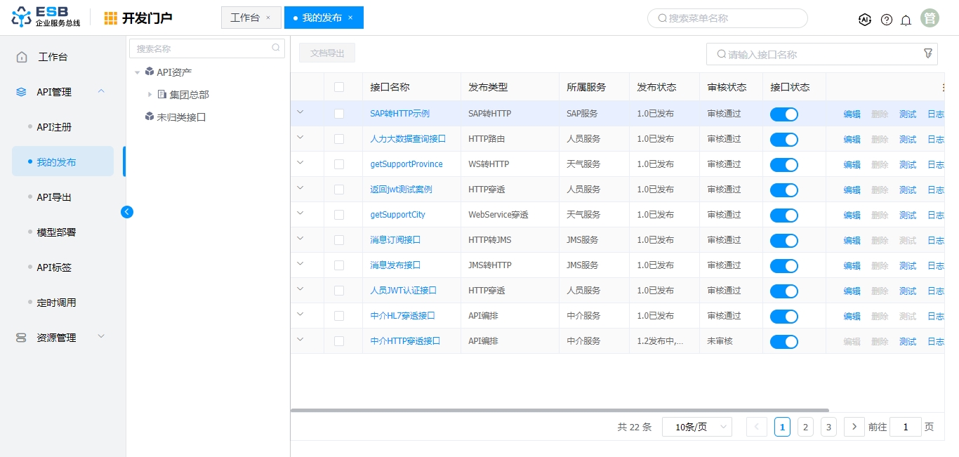
  6. 发布成功后,在工作台点击“我的发布”查看发布结果。

    功能 说明
    接口名称 查看发布详情
    接口状态 控制接口上线、下线
    编辑 已发布接口修改(修改后自动生成新版本并发布)
    测试 发布接口测试
    日志 查看接口的调用日志
    版本 接口版本管理
    取消发布 将已发布接口进行取消发布
    发布说明 查看接口的发布说明信息

← 2.2.2.3 API日志 2.3.1.2 API订阅 →