# API发布
使用manager账号(默认密码:000000)登录系统,点击开发门户,进入“工作台”页面。

“工作台”页面,在“我的系统”页签中,选择系统点击“API快速发布”,在“API快速发布“弹窗,选择”SAP“页签。

点击”SAP转HTTP“按钮,进入”SAP发布“页面。

”SAP发布“页面,参考字段说明表格,填写“业务信息配置”页签中内容(此场景中”导入方式“选择”sap导入“, 如没有所需的服务与SAP源,在此页面可快速新增服务,SAP源等信息)

参数 说明 所属系统 API所属系统 所属服务 API所属服务,若没有对应服务,新增服务 导入方式 业务信息导入方式,可选:手动录入、SAP导入
此场景选择:sap导入SAP源 SAP系统连接配置 接口描述 业务接口描述 “业务信息配置”信息填写完成后,点击“下一步”按钮,进入“接口添加”页面。

在接口添加页面默认会展现所选SAP系统下的所有函数组,点击列表中的函数组,在中间函数栏中会列出该组下的函数。

也可根据函数组,或直接根据函数名称模糊查询。

在函数栏中选择需要添加的函数,点击“>”按钮,将函数添加至导入栏。

如果已经存在相同函数,点击编辑修改函数,避免接口编码重复。

点击确认导入函数。
点击菜单“API管理-API注册”,在"API资产"中选择导入时所选系统,可看到导入的函数,此时函数状态为已注册。

- 点击操作栏中“发布”按钮,即可进行接口发布。

- “业务信息配置”信息填写完成后,点击“下一步”按钮,进入“接口发布”页面,参考字段说明表格填写发布信息,点击“发布”按钮。

| 参数 | 说明 |
|---|---|
| 代理端口 | ESB代理API的端口 |
| 代理URI | ESB代理API的URL,比如:/sap2wsImport |
| 发布说明 | 该接口发布说明 |
| 发布至网关服务器 | 是否将该接口发布至网关服务器,默认不勾选 |
| ESB服务器 | 选择ESB服务器组,发布接口 |
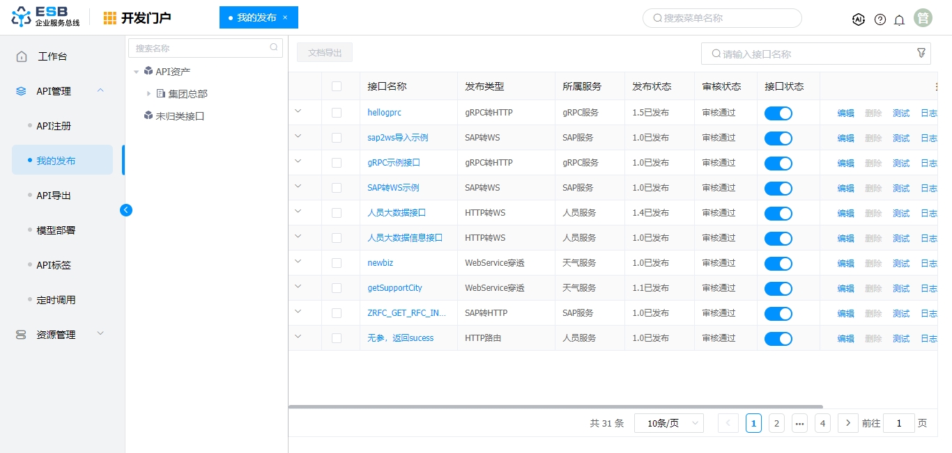
- 发布成功后,在工作台点击“我的发布”查看发布结果。

| 功能 | 说明 |
|---|---|
| 接口名称 | 查看发布详情 |
| 接口状态 | 控制接口上线、下线 |
| 编辑 | 已发布接口修改(修改后自动生成新版本并发布) |
| 测试 | 发布接口测试 |
| 日志 | 查看接口的调用日志 |
| 版本 | 接口版本管理 |
| 取消发布 | 将已发布接口进行取消发布 |
| 发布说明 | 查看接口的发布说明信息 |