# 主题目录
# 功能描述
提供主题目录分类维护功能,提供对层级的主题目录定义。支持L0-L2的逐层分类定义,规则如下:
- L0-分类:默认只有一层,L0下只能挂载L1。
- L1-主题域分组:分组可以允许有多层,L2只能挂在L1下面。
- L2-主题域:允许有多层,L2可以设置是否叶子节点,L3或L4只能挂在L2的叶子节点下。
# 功能入口
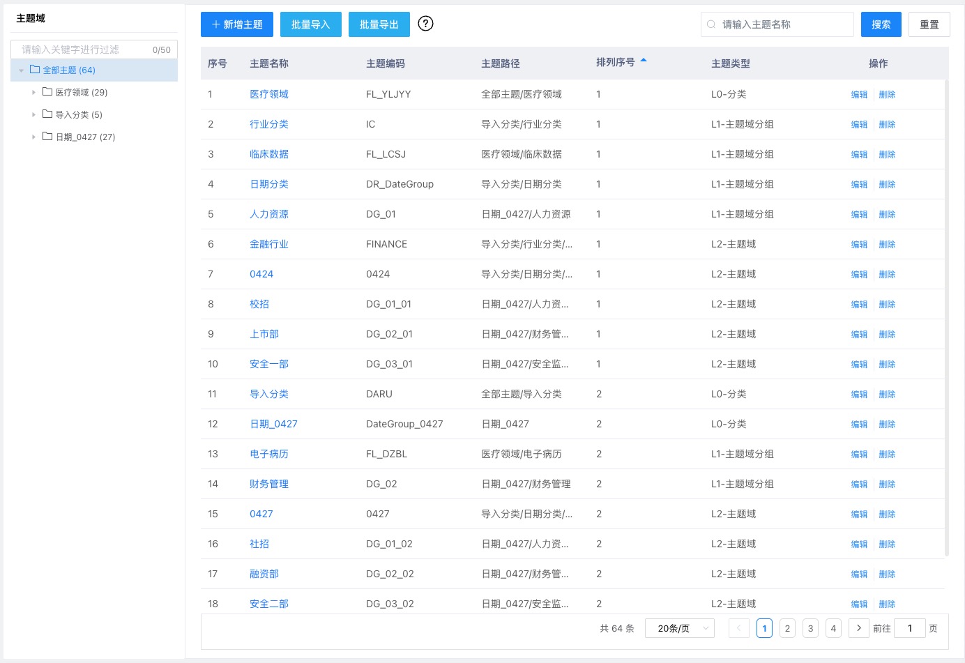
主题目录的功能菜单在【管理门户】-【编目】-【目录管理】-【主题目录】。

# 字段说明
| 参数 | 说明 |
|---|---|
| 父级主题 | 下拉选择父级主题 |
| 主题名称 | 主题中文名称,用于展示,可以重复。 |
| 主题编码 | 主题英文编码,平台唯一,不允许重复。 |
| 主题类型 | 共3种主题类型 L0-分类 / L1-主题域分组 / L2-主题域。 |
| 是否叶子节点 | 只有L2可以设置是否叶子节点,所有实体关联的都只能是叶子节点。 |
| 排列序号 | 用于分类树的显示排序。 |
| 描述 | 备注信息 |
# 操作说明
# 目录新增
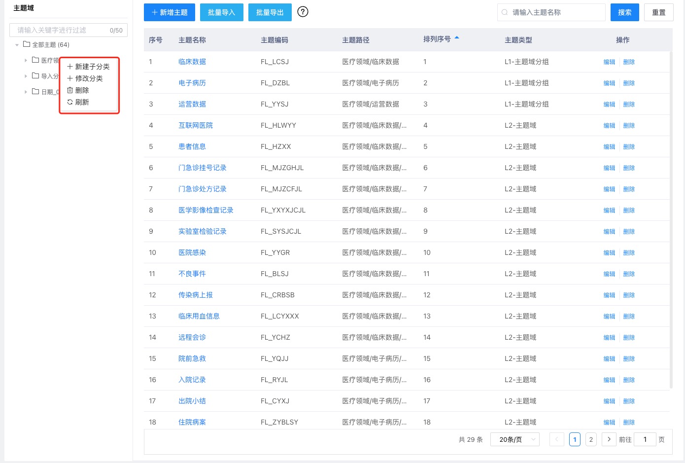
点击“新增主题”按钮。即弹出新增“新增主题”弹出框。

“提交”:输入信息后点击“提交”按钮可以新增主题。
注意:平台支持两种新增方式,点击“新增”按钮或在左侧分类树分类上点击鼠标右键,选择“新建子分类”按钮两种方式。“父级分类”是根据点击左侧的分类树或进入该分类下自动带出。

# 目录维护
“编辑”:点击“编辑”按钮,弹出“编辑主题”弹出框;或在左侧分类树右键点击然后选择“修改分类”。点击“提交”按钮可以保存修改后的主题。
“删除”:可以将所选择的主题数据进行删除;或是点击右键选择“删除”按钮。
# 目录导入
点击批量导入按钮,弹出导入向导。
首先点击下载模版按钮 ,将下载后的模版打开,参考样例数据填写真实的分类数据,填写前请阅读【说明】sheet页,查看相关注意事项。
模版整理好后,点击上传,选择整理好后的模版文件。如填写全部正确,则弹出解析页面,确认数据准确后点击提交按钮,提示上传成功。
如填写不正确,根据提示修改错误数据,重新上传即可。