# 需求清单
# 功能描述
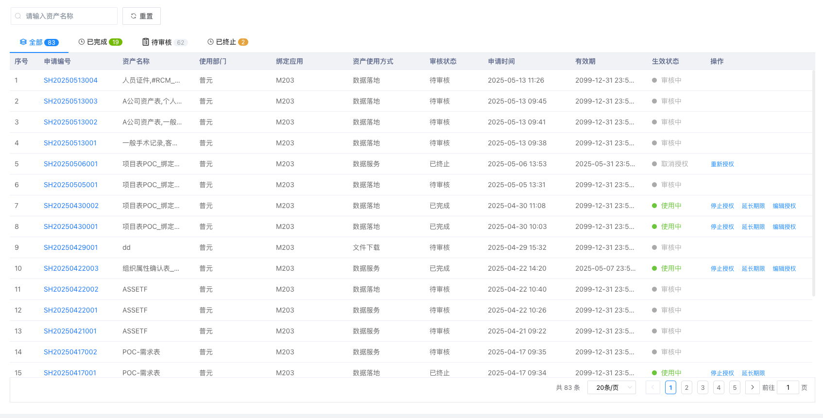
需求清单为部门管理员查看所在部门(即责任部门)下所有的申请单信息,管理员可对申请成功的申请单进行停止授权、延长期限、编辑授权、重新授权等操作。
# 功能入口
【管理门户】-【运营】-【需求清单】

# 操作说明
# 停止授权
对于生效状态的需求单授权可以进行停止授权操作,停止授权后该需求单中申请的服务、ETL作业、文件将无法访问、执行和下载。点击“停止授权”,提示操作成功,生效状态变更为“取消授权“,取消授权支持重新授权操作。

# 延长期限
使用中的需求单授权信息可以延长使用期限,点击“延长期限”打开选择有效期窗口,此处选择日期不能早于当前日期,选择完成后点击提交按钮,完成延长期限操作。

# 其他操作
- 编辑授权:已完成且未评价的需求单支持编辑授权操作,操作步骤同申请流程中数据准备阶段步骤。
- 删除评价:已完成且已评价的需求单不支持编辑授权操作,支持删除评价操作。