普元数据资产管理平台 普元数据资产管理平台
产品简介
快速开始
安装指南
业务门户
管理门户
技术门户
开发指南
运维指南
更新日志
  • 探查结果
  • 功能概述
  • 功能入口
  • 操作说明
  • 探查结果-结果导出
  • 人工修订-批量规则设置
  • 其他

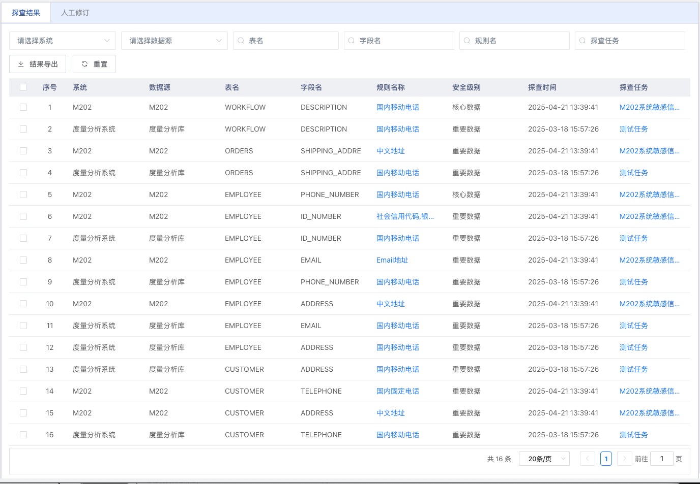
# 探查结果

# 功能概述

查看各系统数据库中被查并匹配成功的属性清单,并通过人工配置的方式手动调整探查结果。

# 功能入口

【准备】-【数据探查】-【探查结果】

# 操作说明

# 探查结果-结果导出

在【探查结果】页面,点击结果导出,可以将已探查结果以excel格式导出。 security-rule

# 人工修订-批量规则设置

在【人工修订】页面,可以通过批量规则设置对自动探查的结果进行批量修订。

人工修订: security-rule

选择替换规则: security-rule

# 其他

  • 批量删除:批量删除已探查结果记录。
  • 重置:重置查询条件。
  • 编辑:编辑单个结果记录。
  • 删除:删除单条探查结果记录。
上次更新: 2025/5/6上午10:51:41

← 数据探查 探查统计 →