普元数据开发平台 普元数据开发平台
产品介绍
安装部署
快速入门
操作指南
应用集成
运维指南
  • 清洗规则管理
  • 功能入口

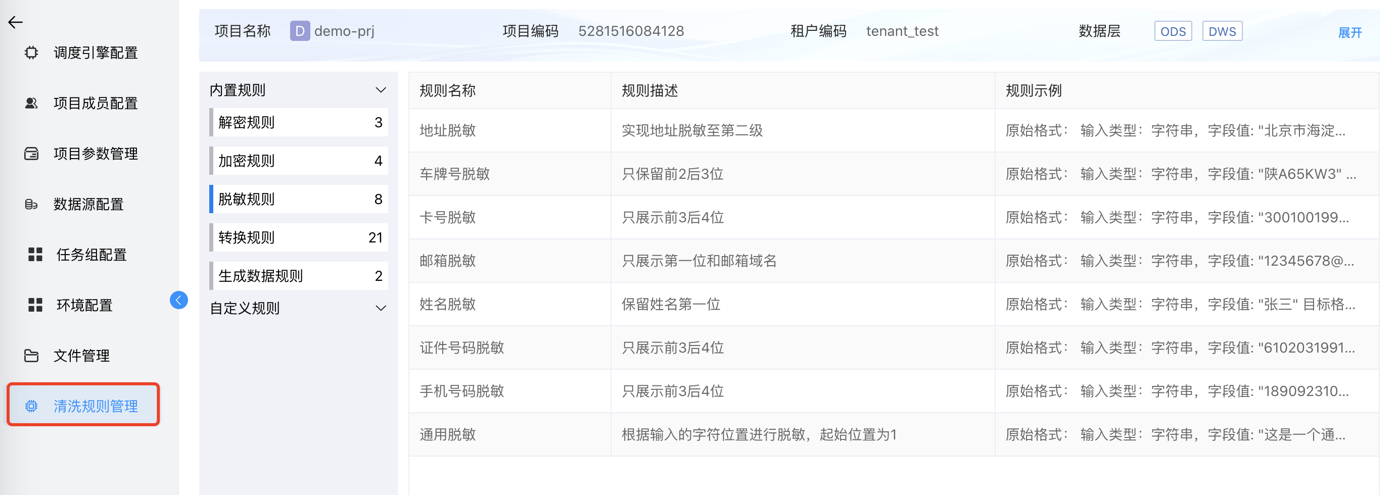
# 清洗规则管理

查看数据加工中的数据清洗组件支持的清洗规则清单及规则描述。

# 功能入口

点击项目卡片的【项目配置】,进入项目配置主页面,点击左侧菜单【清洗规则管理】。

项目配置

← 文件管理 数据建模 →