# 数据应用
# 数据维护
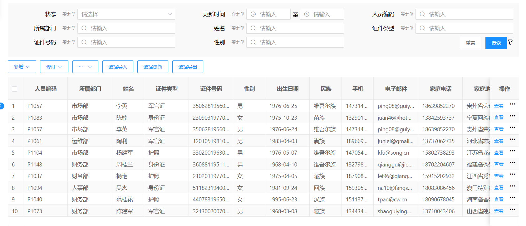
功能简介:对模型数据进行增加、修改、删除等基础信息维护,执行数据导入和导出、数据更新操作。

# 数据新增
点击页面【新增】按钮,弹出新增数据页面,填写数据信息,点击保存按钮保存数据:
当模型包含子模型时,在新增数据时,可以同时添加子模型的数据。选择下方的子模型并点击新增按钮,添加子模型数据。子模型数据一次可以维护多条。
# 上传附件
功能简介:模型字段中如果有文件字段或图片字段,可以在数据维护中上传附件。附件支持预览和下载功能。
操作步骤:
(1)点击【新增】新增数据,点击【附件上传】上传附件,点击【提交】生成一条新的数据。
(2)点击【查看】或【编辑】,在弹出的页面框中可以查看和下载该条数据附件,在【编辑】页面可以上传或删除附件。
# 数据编辑
选择处于【编辑】状态的数据,点击【编辑】按钮,对需要修改的数据进行编辑,弹出修改页面,根据实际需求进行修改,修改完成后点击页面的【提交】按钮,即可保存成功,返回至列表。

# 数据删除
当列表中存在“编辑中”状态的记录,点击记录操作列【删除】按钮,弹出是否删除的确认提示,确认则成功删除。

注意:
1.非“编辑中”状态的记录,不能进行删除操作。
2.可以在列表中勾选多条记录,点击列表右上方的【删除】按钮,进行数据批量删除。
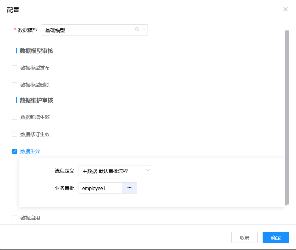
# 数据生效
当模型未启用数据流程时,选择状态为“编辑中”的数据,点击列表上方的【生效】按钮,可将选择的数据状态由“编辑中”更改为“生效”。生效的数据可以发送至各个业务子系统中。
批量生效页面如下图所示:

数据保存和生效时,会根据模型的约束配置和编码规则对字段属性进行校验,校验不通过数据无法生效。校验规则需要在模型中配置约束配置和编码规则。
# 数据送审
新增模型后,可以设置对模型进行操作时需要审核:
在主数据【管理门户】【流程配置】【流程绑定】页面,点击【新增】按钮新增流程。

选择模型,勾选【数据生效】操作启用审核,选择具体使用的流程和审批人员后并保存。
新增数据后需要进入流程审批环节时,需要模型启用数据送审流程,启用方法:进入“数据应用->数据维护”菜单,选中数据点击“生效”,启用数据流程。
新增审核模型前需要进行的配置:
审核人是某员工,一般创建账号的时候会指定机构下的员工,入库的审核人实际是用户。

# 数据修订
需要对“已生效”或者“历史”的数据进行修改时,则可以进行“修订”操作,在保留原版本记录内容的基础上,增加原记录的一个新版本,新记录中除版本号外,其它内容都与原来的版本内容一致,可以在修订版本中对内容进行修改。

点击【修订】按钮,在页面中出现处于编辑状态的新版本数据,选中该编辑状体的数据,点击查看旁边的【...】按钮然后再点击【编辑】按钮根据当前情况进行修改。

修订后的记录,版本号自动加1,列表中多显示一条“编辑中”的记录,“编辑中”的记录审核通过“生效”后,上一版本的记录状态变为“历史”,可以进行查看但是不能进行任何操作。

选择生效的数据,点击【版本对比】,可以查看该条数据不同版本的对比。不相同的属性会用红色背景框标记出。

# 数据停用
勾选列表中的数据,点击列表上方的【停用】按钮,弹出是否停用的确认提示,确认后,数据即被停用。
【说明】只能对生效状态的数据进行停用操作。停用的数据需要启用时,点击【启用】按钮恢复生效状态。
# 数据导出
点击【数据导出】按钮,可导出当前生效状态的所有信息。选中【用于数据更新】会导出包含数据M_ID的excel,在更改excel后可通过【数据更新】按钮再建更新后的数据导入。

# 数据导入
当模型数据较多可以通过导入的方式录入,点击【数据导入】按钮,点击下载模板。

对于导入信息:
下载的模板中包括了当前用户数据管理模板中有“写”权限的字段,为了保证模型数据导入的完整性,建议不要对下载后的模板字段进行增删改操作,也不要修改模板excel的sheet页名称,以避免导入出错。
若字段的类型为日期型,则在数据导入时,需要将对应日期字段的值填写为正确的格式,如类型是日期型(YYYY_MM_DD),则填写的值为2014-07-07,并且将单元格格式设置为文本,否则不能成功导入;
若字段的数据类型为“数值”,在导入的excel中必须填写数值类型的数据,否则无法导入。当导入数据的精度小于该属性设置的精度时,导入后自动补全精度。当导入数据的精度大于该属性设置的精度,采用四舍五入的方法处理数据满足精度要求后导入。
说明:导入后的数据和新增后的数据状态一样,都是“编辑中”,若其他功能中需要引用或查看,则需要按模型配置情况对数据进行“送审”或直接“生效”,记录“生效”状态后的数据才可以在其他功能中引用或查看到。
# 数据归档
若需废弃生效数据,不再使用,可以使用数据归档功能。勾选需要归档的生效数据,点击【归档】按钮,即可进行数据作废操作。作废后数据无法被再次启用,只能重新新增。
